XCMD4124L5EX

Limit switch, Limit switches XC Standard, XCMD, roller lever plunger, 2NC + 2 NO, ATEX/IECEx

arrow

Commercialised

Expand all

Datasheet

Range of product
Telemecanique Limit switches XC Standard
Series name
Standard format
Product or component type
Limit switch
Device short name
XCMD
Sensor design
Miniature
Body type
Fixed
Head type
Plunger head
Material
Metal
Fixing mode
By the body
Movement of operating head
Linear
Type of operator
Spring return roller lever plunger steel retractable
Switch actuation
By 30° cam
Type of approach
Lateral approach, 1 direction
Electrical connection
Fixed cable
Contacts type and composition
2 x (1 NC + 1 NO)
Contacts insulation form
Zb
Contact operation
Snap action
Positive opening
With
IP degree of protection
IP66 conforming to IEC 60529, IP67 conforming to IEC 60529
Body material
Zamak
Head material
Zamak
Cable composition
9 x 0.34 mm²
Wire insulation material
PvR
Contact code designation
R300, DC-13 (Ue = 250 V), Ie = 0.1 A conforming to IEC 60947-5-1, R300, DC-13 (Ue = 250 V), Ie = 0.1 A conforming to IEC 60947-5-1 appendix A, C300, AC-15 (Ue = 240 V), Ie = 0.75 A conforming to IEC 60947-5-1, C300, AC-15 (Ue = 240 V), Ie = 0.75 A conforming to IEC 60947-5-1 appendix A
Resistance across terminals
25 MOhm conforming to IEC 60255-7 category 3
Marking
II2 D-Ex tb IIIC T85°C Db IP66/67
Shock resistance
25 gn for 18 ms conforming to IEC 60068-2-27
Vibration resistance
5 gn (f= 10-500 Hz) conforming to IEC 60068-2-6
Electrical shock protection class
Class I conforming to IEC 61140, class I conforming to NF C 20-030
Protective treatment
TC
Dust zone
Zone 21 - 22
Product certifications
IEC-Ex INE 17.0020X
INERIS 04ATEX0014X
Standards
IEC 60079-0
IEC 60079-31
Directives
2014/34/EU - ATEX directive
Unit type of package 1
PCE
Number of units in package 1
1
Package 1 height
15 CENTIMETER
Package 1 width
14 CENTIMETER
Package 1 length
5 CENTIMETER
Package 1 weight
0.505 KILOGRAM
Unit type of package 2
S01
Number of units in package 2
4
Package 2 height
15 CENTIMETER
Package 2 width
15 CENTIMETER
Package 2 length
40 CENTIMETER
Package 2 weight
2.245 KILOGRAM
Indivisible sale quantity
1
California proposition 65
WARNING: This product can expose you to chemicals including: Diisononyl phthalate (DINP), which is known to the State of California to cause cancer, and Di-isodecyl phthalate (DIDP), which is known to the State of California to cause birth defects or other reproductive harm. For more information go to www.P65Warnings.ca.gov

Expand all

Technical Drawings

Dimensions

epds

Mounting

Sweep of Connecting Cable

epds

Setting-up

Plunger or Multi-directional Heads

epds

Wiring Diagram

4-pole NC + NC + NO + NO Snap Action

epds

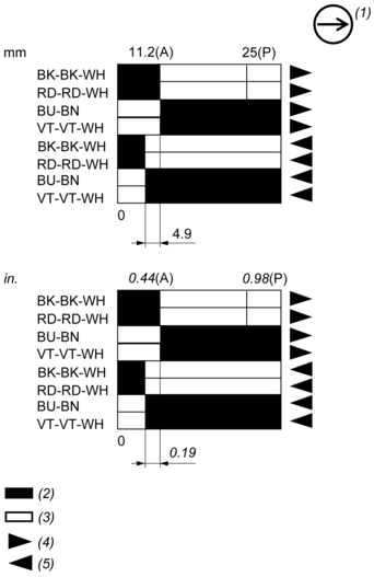
Characteristics of Actuation

Switch Actuation by 30° Cam

epds

Functional Diagram

epds

Back to top

arrow